Карта сайта
Главная
»
Система смазки
»
Датчик уровня масла
»
Схема датчика уровня и состояния масла
Двигатель
Система впрыска
Топливная система
Впускная система
Система зажигания
Система смазки
Система смазки с сухим картером
Масляный насос
Датчик уровня масла
Система охлаждения
Выпускная система
Трансмиссия
Сцепление
Коробка передач
Подвеска
Рулевое управление
Тормозная система
Несущая система
Системы активной безопасности
Система пассивной безопасности
Электрооборудование
Другие системы
Системы вашего автомобиля
Неисправности систем
Энциклопедия
Гостевая книга
Подписка на новости сайта
Все схемы сайта
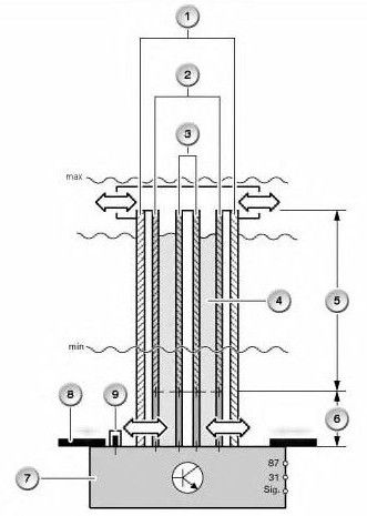
Схема датчика уровня и состояния масла
корпус
внешняя трубка
внутренняя трубка
моторное масло
верхний конденсатор
нижний конденсатор
электронный блок датчика
масляный картер
датчик температуры
Популярное
Система непосредственного впрыска обеспечивает несколько видов смеси
В двигателе TSI объединены непосредственный впрыск и турбонаддув
Конструктивно антипробуксовочная система находится между системами ABS и ESP
Робот DSG объединяет две механические коробки передач в одном корпусе
Все больше легковых автомобилей оборудуются системой Стоп-старт